
안녕하세요. 퍼스트마크입니다.
이종일 변리사를 통해 등록 되었된 휴대통신기기 인증/보안 기술 관련 BM특허를 소개합니다.
등록 BM특허 내용 및 등록 과정
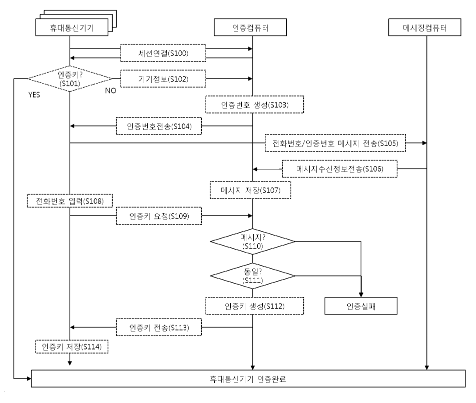
[해당 BM특허 출원에서 등록까지 과정]


특허출원인에게 가장 중요한 것은 특허청구범위입니다.
기술특허도 마찬가지이지만 BM특허를 획득한 경우, 권리자에게 주어지는 BM특허의 권리는 오로지 특허청구범위에 기재된 내용으로 한정되기 때문입니다.
BM특허출원을 위한 특허청구범위의 작성시에는 출원인이 BM특허를 획득한 상태에서 경쟁사 또는 제3자의 BM특허침해로 인한 분쟁이 발생한다는 예측하에, 이를 염두에 두고 작성을 해야합니다.
또한 BM특허 등록을 받기 위해 특허청 심사관과의 논리적 공방을 생각해야합니다.
특허 출원이 되면 특허심사 중 무조건 1번 이상의 거절이유를 받습니다. 그래서 심사관의 심사 판단에 유리한 결과를 가져올 수 있도록 작성하는 것이 중요합니다.
해당 BM특허도 출원이 되고 특허 심사 중 의견통지서를 받았습니다. 심사관의 거절의견에 대응하는 의견서 및 보정서를 제출하여 심사관을 이해시킴으로서 거절 이유를 해소하고 최종 특허 등록이 되었습니다.
[등록 BM특허 내용]
출원번호: 10-2015-0055669
등록번호: 101707121
대리인: 이종일
발명의 명칭:
휴대통신기기 인증 시스템 및 그 방법
발명의 개요:

본 발명은 휴대통신기기의 인증 시스템 및 그 방법에 관한 것이다.
본 발명에서는 인증컴퓨터와 통신수단을 이용하여 접속된 휴대통신기기의 인증 시스템에 있어서, 상기 인증컴퓨터는, 상기 휴대통신기기로부터 전송되어 온 상기 휴대통신기기의 기기 정보와 연관지어 인증번호를 생성하여 저장하기 위한 인증번호생성수단과; 생성된 상기 인증번호를 특정 세션 정보로 암호화하여 암호화 인증번호를 상기 휴대통신단말기로 전송시키기 위한 인증번호암호화수단과; 상기 휴대통신기기로부터 전송되어 온 상기 휴대통신기기의 고유 전화번호와 암호화 인증번호를 포함하는 메시지를 수신하기 위한 메시지수신수단과; 특정 전화번호 관련 인증키 요청에 대하여 상기 특정 전화번호 관련 수신 메시지 및 상기 메시지에 포함된 암호화 인증번호를 기초로 상기 인증키생성 여부를 결정하기 위한 인증수단을 포함하는 것을 특징으로 하는 휴대통신기기 인증 시스템 및 그 방법이 제시된다.
대표권리내용:
휴대통신기기가 인증컴퓨터에 접속하고 세션 연결을 수행하는 단계와;
상기 인증컴퓨터가 접속한 상기 휴대통신기기의 기기정보로 특정 세션 정보를 포함한 인증번호를 생성하여 저장시키는 단계와;
상기 인증컴퓨터가 저장된 인증번호를 상기 특정 세션 정보로 암호화하여 암호화 인증번호를 상기 휴대통신기기로 전송시키는 단계와;
상기 휴대통신기기가 고유 전화번호 정보와 상기 암호화 인증번호를 포함하는 메시지를 전송하는 단계와; 상기 인증컴퓨터가 상기 휴대통신기기로부터 전송되어 온 메시지를 수신하는 단계와;
상기 인증컴퓨터가 상기 휴대통신기기에서 특정 전화번호를 획득하거나 입력하여 전송한 상기 특정 전화번호 관련 인증키 요청을 수신하는 단계와;
상기 인증컴퓨터가 상기 특정 전화번호로부터 전송되어 온 상기 특정 전화번호와 암호화 인증번호가 포함된 메시지가 존재하는지를 조회하는 단계와;
상기 특정 전화번호로부터 전송되어 온 메시지가 있는 경우 상기 특정 전화번호로부터 전송되어 온 메시지에 포함된 암호화 인증번호를 상기 특정 세션 정보로 복호화가 가능한지를 판단하는 단계와;
상기 특정 세션 정보로 복호화가 가능한 경우, 상기 인증컴퓨터가 상기 휴대통신기기의 기기정보로 생성하여 저장시킨 특정 세션 정보로 암호화한 암호화 인증번호와 상기 특정 전화번호로부터 전송되어 온 메시지에 포함된 암호화 인증번호를 복호화하여 비교하는 단계와;
2개의 복호화된 인증번호가 일치하는 경우 상기 인증컴퓨터가 상기 특정 전화번호 관련 인증키를 생성시키는 단계를 포함하는 휴대통신기기 인증 방법.
BM특허 전문 특허사무소 및 변리사
BM특허는 유무선 인터넷 등의 네트워킹 기술과, 컴퓨터프로그램 및 데이터베이스와, 유무선 통신수단이 구비된 컴퓨터 및 모바일 휴대단말기 등으로 이루어지는 것입니다.
따라서, BM특허를 협조할 수 있는 변리사는 그 전공이 전기전자, 정보통신분야인 것이 대부분입니다.
퍼스트마크를 운영 서비스하는 대일국제특허법률사무소는 이종일 대표변리사(한양대 대학원 전자공학 전공, 특허청 정보통신분야 심사관)를 비롯하여 특허엔지니어의 70%가 전자/정보통신을 전공한 IT분야 전문가로 구성되어 있습니다.

이종일 변리사는 그 동안 3,722건(2019년까지 기준)의 특허출원 경험과 국내 및 해외 대기업, 중소기업, 대학교 및 연구기관의 수준 높은 전기,전자,반도체, 정보 통신, 시스템 및 BM특허분야의 특허출원을 수행함에 있어서 자신 있는 기술분야만을 고집스럽게 수행하고 있습니다. 그 결과 탁월한 특허 등록율을 유지하면서 수행해 오고 있습니다.
퍼스트마크 및 이종일 변리사와 BM특허 진행시 장점
1. 10년간 특허청 심사관, 10년 이상의 경력의 변리사에 의한 안정된 서비스 관리
2. High Technology의 이해 및 고객의 특허출원등록 수행
3. BM 특허의 아이디어를 기술적으로 완성 및 BM특허권 획득
4. 중소기업 대상 합리적인 수수료 책정
5. BM특허의 차별화된 등록율
BM특허 관련 필요한 사항이 있으시면 언제든지 저희 홈페이지 또는 다양한 연락 방법을 통해 연락 바랍니다.
감사합니다.
전화상담: 02-554-3027
메일상담: daeilpat@gmail.com
'지식재산권 > 특허, 발명' 카테고리의 다른 글
| 사례로 알아보는 BM특허출원 상담부터 등록까지 (0) | 2020.03.09 |
|---|---|
| 스타트업이 알아두면 좋은 특허 심사 절차 간략한 설명 (0) | 2020.03.06 |
| AI 인공지능/민원행정, 문서자동화 관련 기술 분야의 BM 특허 등록 사례 (0) | 2020.03.02 |
| 특허제도 및 특허요건 (0) | 2020.02.25 |
| 특허 출원전 고려사항 (특허와 영업비밀) (0) | 2020.02.24 |

